北京10宗住宅地块投报 :2宗直接成交 其余进入后续评选程序
扫描到手机,新闻随时看
扫一扫,用手机看文章
更加方便分享给朋友
经过5月24日和25日为期两天的现场投报,北京市首批集中出让地块高标准商品住宅建设方案投报全部结束,10宗地中2宗地因无人递交方案直接成交,8宗地将通过高标准商品住宅建设方案评选方式确定竞得人,成交结果将在市规划自然资源委网站等官方媒体公布。
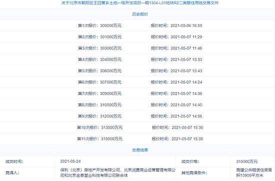
其中朝阳区王四营乡土地一级开发项目一期1304-L01地块R2二类居住用地在规定的投报时间内无人递交高标准商品住宅建设方案,根据挂牌文件规定,确定现场竞价期间竞报“公共租赁住房”面积较高者,即保利(北京)房地产开发有限公司、北京润置商业运营管理有限公司和北京金泰慧业科技有限公司联合体(保利+华润+金地)为竞得人,竞得条件为土地成交价 31.5亿元和竞建公共租赁住房面积13900平方米,成交楼面地价38911元/平方米,溢价率5%。
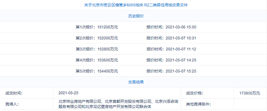
同样因无人递交方案直接成交的还有密云区檀营乡6005地块R2二类居住用地。该宗地土地面积约5.8公顷,规划建筑规模约11.7万平方米。最终由北京祥业房地产有限公司、北京首都开发股份有限公司、北京兴添咨询服务有限公司和北京花亿里房地产开发有限公司联合体(首开+住总+花样年+旭辉)以17.38亿元竞得,成交楼面地价14893元/平方米,溢价率15%。
为落实城市总体规划中提出的建设国际一流和谐宜居之都的要求,本次供应的项目中大部分都设置了投报高标准商品住宅建设方案环节,投报内容主要包括绿色建筑、装配式建筑、超低能耗建筑、宜居技术应用、城市设计、建筑单体设计、交通流线设计、景观与公共环境设计等,引导开发企业主动提升住宅品质。
专家认为,本次供地的政策工具箱,引入高品质住宅建设要求,能够有效提高住宅建设质量。整体越来越接近市场化原则,能够有效把供应的地块转化成社会需求。
来源:新华社
声明:本文由入驻焦点开放平台的作者撰写,除焦点官方账号外,观点仅代表作者本人,不代表焦点立场。


